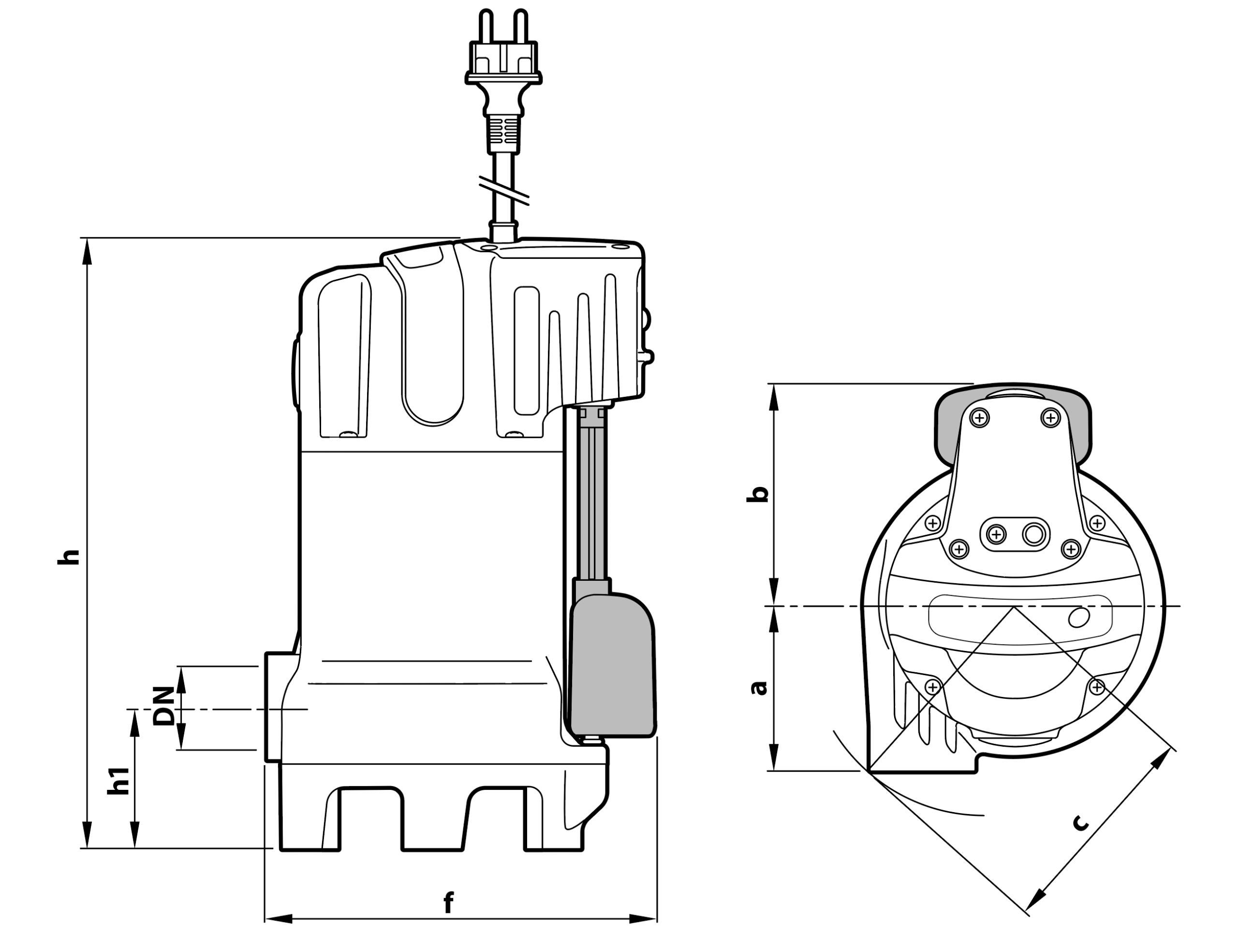
Technische tekeningen pomp met versnijder

Pompkarakteristiek pomp met versnijder GR

Aansluitschema van pomp met versnijder

Technische prestaties waterpomp
• Debiet tot 85 l/min (5 m³/u)
• Opvoerhoogte tot 11 meter
• Diepte onder waterniveau tot 5 m
• Vloeistoftemperatuur tot +40 °C
• Pomp leegt tot 35 mm waterniveau
• Minimale onderdompeling voor continu gebruik: 300 mm
Installatie en gebruik
De rioolpompen met versnijder uit de GR serie zijn uitgerust met een robuust, gehard roestvrijstalen versnijder op de pompkop. Deze is ontworpen om fecaliën, vaste stoffen en vezels in huishoudelijk rioolwater te versnijden zodat de homogene watermassa verpompt kan worden. De rioolpomp is ontworpen om onder druk huishoudelijk afvalwater naar rioleringssystemen via leidingen met een kleine diameter te transporteren. Uiteraard kan deze pomp ook geleverd worden in een prefab voorgemonteerde pompput.
Opties
GEP Alarm melder
De GEP Alarm melder is een meet- en bewakingsmelder voor bewaking van een pompsysteem. Op eenvoudige wijze kan de melder op de potentiaal vrije uitgang van de pompbesturing aangesloten worden of aangestuurd door een vlotter schakelaar.
GEP GSM SMS Alarm melder
De GEP GSM SMS Alarm melder alarmeert (maximaal) vijf nummers met een SMS en/of oproep via de ingebouwde GSM module. Een ‘bevestiging’ door de ontvanger zorgt ervoor dat de overige contactpersonen niet meer gebeld worden. De GEP GSM SMS Alarm melder werkt langer dan een jaar op één set batterijen.
Besturing voor redundante werking van 2 pompen
Deze rioolpompen kunnen ook dubbel uitgevoerd worden, dat geeft met een redundante werking een hoge bedrijfszekerheid. De GEP Pompbesturing WWM-2 voor twee afvalwaterpompen zorgt voor een veilige en bedrijfszekere aansturing van de dompelpompen en deze besturingen zijn net zo flexibel als de pompputten en het brede assortiment dompelpompen van GEP. De pompbesturing is universeel, dus ieder type vuilwaterpomp kan erop aangesloten worden. Op de GEP pompbesturing kunnen vlotterschakelaars of een niveau-sensor aangesloten. De pompbesturingen zijn voorzien van een duidelijk bedieningspaneel met lcd display waar de status van het systeem af te lezen is. De actuele aansturing van de verschillende in- en uitgangen is afleesbaar op het LCD-display.
Leveromvang Pomp met versnijder GR
Product bestaat uit: Rioolpomp met versnijder met 5 meter kabel en gepatenteerde vlotterschakelaar.
Bestelgegevens
| Artikelnummer | Productbeschrijving | Prijscategorie |
| 407655 | Pomp met versnijder GR | 3 |

















